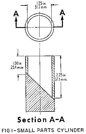
CPSC Small Parts Test Cylinder

Printables

CPSC Small Parts Test Cylinder is a 3D printable model, which we searched from web for you, so you can easily print on your own 3D printer.

Get 3D Print Model

X