Separator Laser 3D Print Models
10000+ 3D Print Models
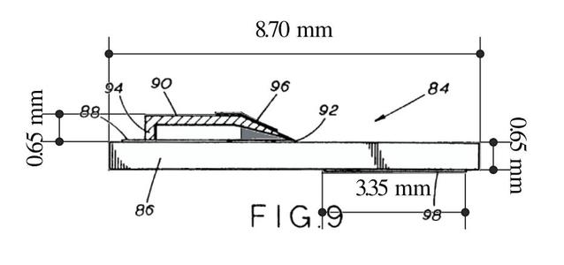
Seed separator (removing husks, shells, debris)
printables.com
Better Seams: An Orca Slicer Guide to Using Scarf Seams
printables.com
Seed Zipper (separator)
printables.com
Laser fence
printables.com
Laser corner fence
printables.com
Hose Separator
thingiverse.com
Laser Cutter Material Raisers
printables.com
Ladder line separator 25mm for dipole antenna
thingiverse.com
Ladder line separator 25mm for dipole antenna
printables.com
Separador Base Quick Release
printables.com
Аir jet separator
printables.com
IKEA Hållbar Separator
printables.com
Laser Air Assist
printables.com
SEPARATOR & RULER FOR CARPET
printables.com
water separator
printables.com
Separator for stackable box
printables.com
qBrick one separator join
printables.com
VLS seed insert for Matrix and strip
thingiverse.com
Parametric laser cutting grid (from recycled prints)
printables.com
Basil Seed Separator
thangs.com
Stanley drawer separator
printables.com
Parametric Laser Bed Stops for lasers with slotted beds
printables.com
Drawer_1x1x2_Separator_Smaller-CAD.stl
thingiverse.com
Catan Expansion Tile Separator
printables.com
Laser Rigips Stahl Schiene Einsteller
printables.com
Strip Cutter
printables.com
Separator 2
thingiverse.com
MagneGuards (Magnetic Laser Cone Spacers)
printables.com
Simple Book Separator
printables.com
Split (Regretevator)
printables.com
food separator for Ikea 365+ fridge food storage box
printables.com
Spacer for Expandable Equal Space Divider
printables.com
Extractor Cortadora Laser
printables.com
Segmenter - Increased height
printables.com
Toothbrush Separator
printables.com
Laser Halter Ryobi Skadis
printables.com
Taped separator to keep something vertical
printables.com
Fuel line separator Kawasaki x2
thingiverse.com
Bucket Spacer Divider
printables.com
Spatial filter for lasers (3-axis)
printables.com